2026年高考临近,志愿填报是考生和家长必须攻克的关键环节。为帮助考生提前熟悉流程,本文详细梳理了高考志愿模拟填报完整操作流程,并汇总全国各省官方模拟系统入口。建议考生务必在规定时间内完成模拟演练,避免正式填报时因操作失误影响录取!

一、2026高考志愿模拟填报操作流程
2026年高考志愿填报前,全国各省通常会安排志愿模拟填报环节,帮助考生提前熟悉填报系统和操作流程。需要注意的是,模拟填报并不是正式志愿填报,系统中的院校计划和填报数据均为模拟数据,模拟结束后所有数据会被清空,不会作为正式志愿依据。考生可通过电脑端或手机端进行模拟填报练习。
由于不同省份流程不同,下文以贵州省为例,供考生和家长参考!
1.登录志愿填报系统
考生首先登录“贵州省普通高校招生考试考生综合信息平台”(http://gkks.eaagz.org.cn/),输入身份证号和密码进入系统。若使用手机操作,可下载“贵州招考”APP,通过身份证号和密码登录系统。进入系统后,在首页点击“我的志愿填报”即可进入填报界面。

2.编辑志愿草稿
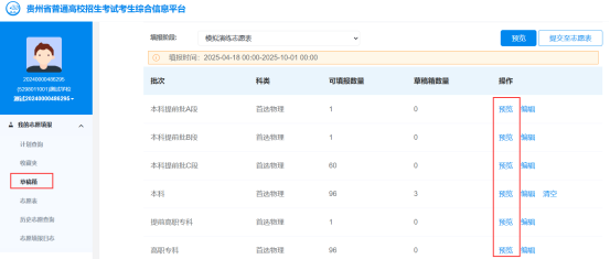
进入系统后,考生需要先在“草稿箱”中编辑志愿。点击对应批次的“编辑”按钮,进入志愿编辑页面。考生可以通过“新增志愿”逐条添加院校和专业,也可以从“收藏夹”中导入之前收藏的院校专业信息。在填写过程中,要认真核对院校代号、院校名称、专业代号以及专业名称,同时注意专业的选科要求、外语语种要求、是否需要外语口试等信息。

3.保存志愿草稿
志愿填写完成后,考生需要点击“保存草稿”按钮进行保存。如果没有保存,已填写的志愿信息可能无法保留,因此保存是非常重要的一步。

4.核对志愿信息
草稿保存后,考生可以在“草稿箱”中点击“预览”,对志愿信息进行逐条核对。重点检查院校名称、专业代码、志愿顺序等是否填写正确。如果发现问题,可以在正式提交前继续修改。


5.提交志愿表
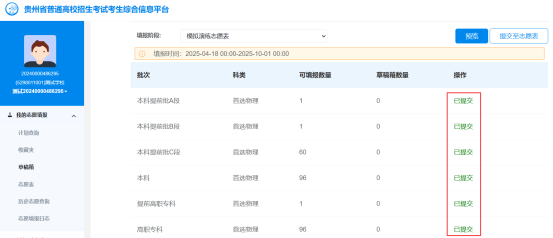
确认志愿信息无误后,点击“提交至志愿表”,并输入登录密码完成提交。提交成功后,志愿才会正式生效。如果没有提交成功,志愿仍停留在草稿状态,不会被系统记录。

6.查看和修改志愿
志愿提交后,考生可进入“志愿表”页面进行预览,确认所有院校和专业信息是否提交成功。如需修改志愿,可以将志愿退回到草稿箱重新编辑。但需要注意,在志愿填报期间每名考生最多只有3次提交机会。

7.安全退出系统
填报完成后,考生应点击“安全退出”或退出登录,并关闭页面,以确保账号信息安全。

二、2026高考模拟志愿填报系统入口官网
为方便考生登录官方系统,以下为全国各省及直辖市模拟志愿入口,建议通过官网首页进入,防止误入非官方链接:
1.直辖市
上海:https://www.shmeea.edu.cn/page/index.html
重庆:https://www.cqksy.cn/site/index.html
2.华北地区
3.东北地区
4.华东地区
安徽:https://www.ahzsks.cn/index.htm
5.华中地区
湖南:https://jyt.hunan.gov.cn/jyt/sjyt/hnsjyksy/web/index.html
6.华南地区
7.西南地区
四川(普通高考志愿系统):https://gkzy.sceea.cn/
四川(新高考辅助系统):https://gkt.sceeic.cn/
贵州:http://zsksy.guizhou.gov.cn/
8.西北地区
陕西:官网入口1:https://www.sneea.cn/
陕西:官网入口2:https://www.sneac.com/






